基于面向对象的青海湖环湖区居民地信息自动化提取 |
| 连喜红,祁元,王宏伟,张金龙,杨瑞 |
|
Automatic Extraction of Residential Information based on Object-oriented in the Areas around the Qinghai Lake |
| Xihong Lian,Yuan Qi,Hongwei Wang,Jinlong Zhang,Rui Yang |
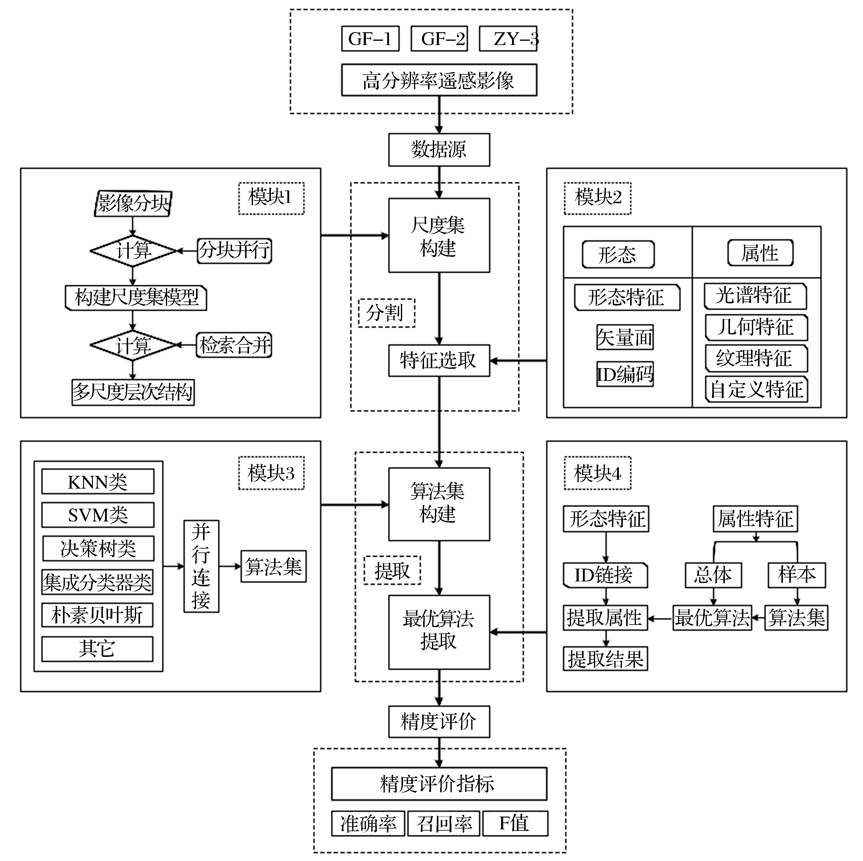
| 图2 技术流程图 |
| Fig.2 Flowchart |
|